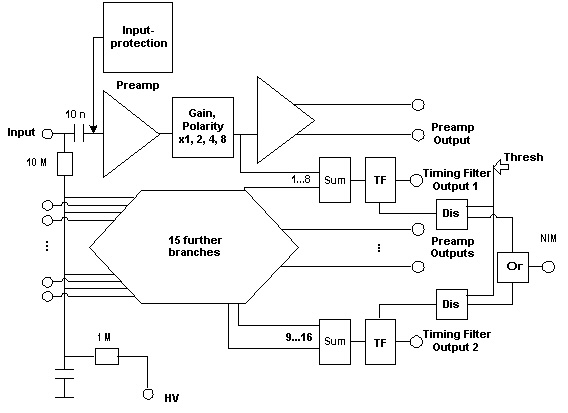
mesytec MPRT-16 – современный многоканальный предусилитель с интеграцией заряда. Он включает в себя синхронизирующий тракт с дискриминаторами, обеспечивающий запуск внешней электроники. Доступны три варианта выхода: дифференциальный разъем, однополярный выход с разъемом или однополярный выход с разъемами Lemo. Усиление предусилителя можно переключать в 4 этапа, каждый из которых умножает сигнал на 2, обеспечивая общее максимальное изменение диапазона в 8 раз.
Особенности:
- 16-канальный компактный модуль;
- Переключатель чувствительности, коэффициент 1, 2, 4, 8;
- Входная защита;
- Импульсный вход;
- Напряжение смещения до ±600 В;
- Главный или Lemo выходы;
- Выход NIM-триггера;
- 2 выхода временного фильтра для групп из 8 каналов.
Технические характеристики:
MPRT-16 имеет два выхода временных фильтров. Сигналы формируются из суммы каналов 1...8 и 9...16. Сигналы отрицательные, масштабируются и поляризуются с помощью настройки поворотного переключателя. Выходные амплитуды: -1.5 В для максимального диапазона в одном канале. Амплитуда зависит от мощности детектора и времени нарастания сигнала. Постоянные времени временного фильтра по умолчанию: интегрирование 250 нс, дифференцирование 450 нс.
MPRT-16 обеспечивает выход триггера NIM, который представляет собой сумму 4 его дискриминаторов переднего фронта, каждый из которых работает с суммой 4 каналов аналогового временного фильтра. Несколько дискриминаторов используются для обеспечения высококачественного сигнала NIM с низким джиттером. Дискриминаторы имеют общий порог, который регулируется 10-оборотным потенциометром. Пороговое значение доступно на сенсорном выходе. -4.5 В соответствует 45% полного диапазона одного канала.
Схема
Оплата продукции производится по безналичному расчету на основании счета либо договора поставки. Компания АЗИМУТ ФОТОНИКС принимает участие в конкурсных торгах (электронных аукционах) на выполнение заказов от бюджетных организаций. Для бюджетных организаций предусмотрена работа с частичной предоплатой в рамках договоров по ФЗ.
Доставка оборудования и компонентов во все регионы России осуществляется транспортными компаниями (Major Express, Гарантпост, СДЭК) с обязательным соблюдением требований к транспортировке и хранению, также возможен самовывоз из нашего офиса в Москве. Условия отправки груза в страны СНГ и ЕАЭС необходимо уточнять отдельно у специалистов нашей компании.
