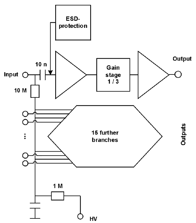
mesytec MPR-16-L представляет собой современный многоканальный предусилитель с интегрированием заряда, хорошо подходящий для кремниевых или газовых детекторов. См. также тип MPR-16-D для управления дифференциальными линиями.
Особенности:
- 16-канальный компактный модуль;
- Очень низкое рассеивание мощности (тип 4 В);
- Переключатель чувствительности, фактор 5;
- Входная защита от электростатического разряда;
- Выход Lemo, может управлять терминированными линиями BNC;
- Импульсный вход;
- Напряжение смещения до ±400 В;
- Модуль печатной платы доступен для использования в вакууме.
Схема
Оплата продукции производится по безналичному расчету на основании счета либо договора поставки. Компания АЗИМУТ ФОТОНИКС принимает участие в конкурсных торгах (электронных аукционах) на выполнение заказов от бюджетных организаций. Для бюджетных организаций предусмотрена работа с частичной предоплатой в рамках договоров по ФЗ.
Доставка оборудования и компонентов во все регионы России осуществляется транспортными компаниями (Major Express, Гарантпост, СДЭК) с обязательным соблюдением требований к транспортировке и хранению, также возможен самовывоз из нашего офиса в Москве. Условия отправки груза в страны СНГ и ЕАЭС необходимо уточнять отдельно у специалистов нашей компании.
