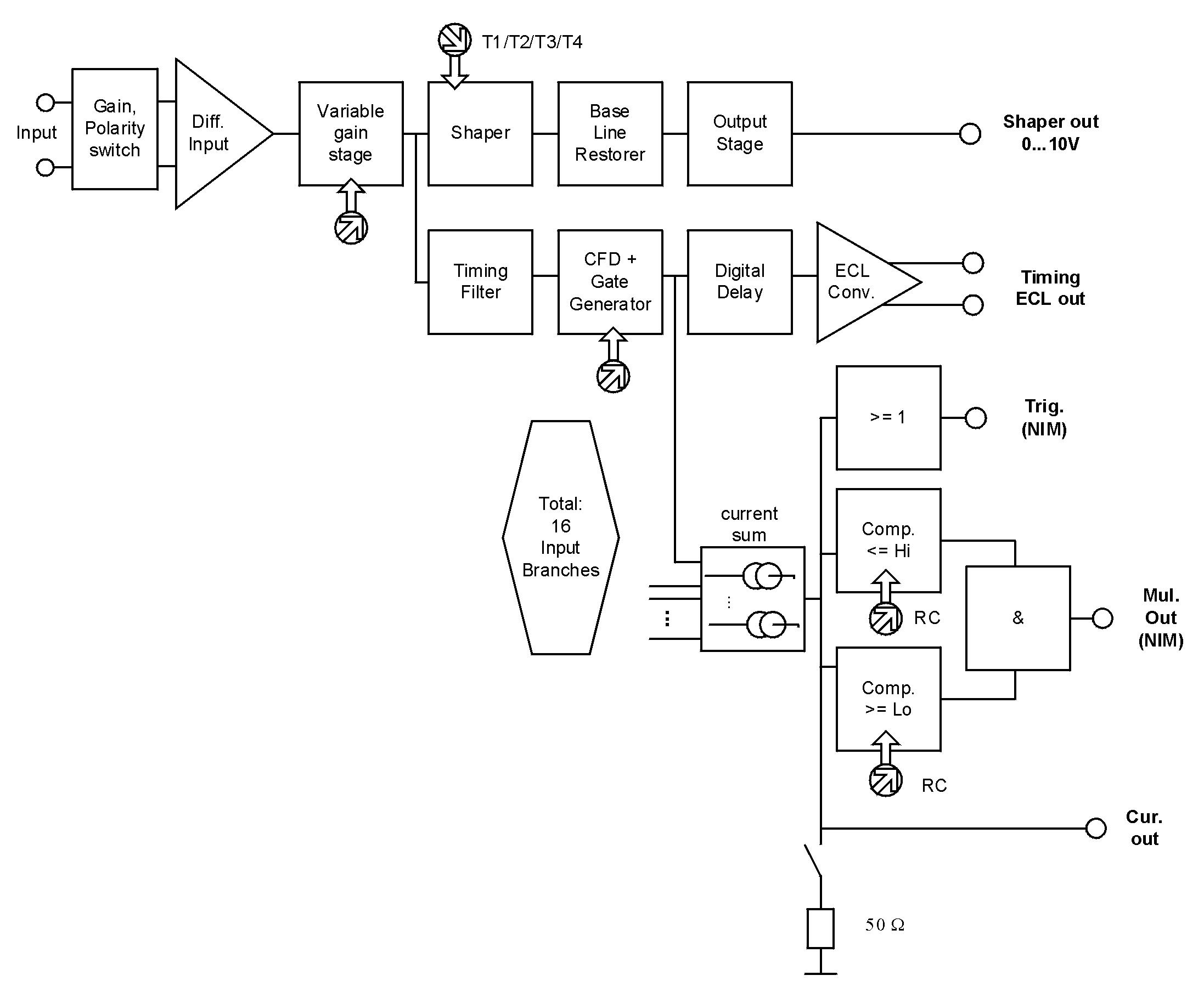
mesytec MSCF-16-LN – это спектроскопический усилитель со сверхнизким уровнем шума и активным восстановителем базовой линии. Он обеспечивает усилители временных фильтров с дискриминатором постоянной дроби и триггером по множественности. Он полностью переработан, чтобы соответствовать требованиям высококачественного считывания германиевого детектора.
Особенности:
- 16-канальный модуль NIM, конструкция с низким энергопотреблением;
- Формирующие усилители с активным восстановителем базовой линии;
- Усилители временных фильтров;
- Дискриминаторы CF (опция: передний фронт);
- Выход синхронизации ECL с цифровой задержкой 800 нс;
- Выход триггера;
- Триггер множественности;
- Дистанционное управление порогами дискриминатора, временем формирования, усилением и PZ;
- Формирование в 4 раза;
- Усиление регулируется от 1 до 600 (опционально 2000);
- Lemo-00 входы;
- Низкий уровень шума: 4 мкВ (среднеквадратичное значение) (усиление = 100 и время формирования = 8 мкс);
- Низкая интегральная нелинейность;
- Полное управление через переднюю панель;
- Дистанционное управление через USB и шину управления mesytec;
- 4 выбранных времени интегрирования временного фильтра;
- Временная задержка ECL может быть отключена.
Схема
Оплата продукции производится по безналичному расчету на основании счета либо договора поставки. Компания АЗИМУТ ФОТОНИКС принимает участие в конкурсных торгах (электронных аукционах) на выполнение заказов от бюджетных организаций. Для бюджетных организаций предусмотрена работа с частичной предоплатой в рамках договоров по ФЗ.
Доставка оборудования и компонентов во все регионы России осуществляется транспортными компаниями (Major Express, Гарантпост, СДЭК) с обязательным соблюдением требований к транспортировке и хранению, также возможен самовывоз из нашего офиса в Москве. Условия отправки груза в страны СНГ и ЕАЭС необходимо уточнять отдельно у специалистов нашей компании.
